普通脉冲袋式除尘器按风机全压设计,一般压力为3?8kPa>高压脉冲袋式除尘器用于髙 炉煤气净化为300?400kPa,相差近100倍;用于某些化工过程的脉冲袋式除尘器使用压力达 lOOOkPa以上。还有用于其他场合的高压脉冲袋式除尘器,也比普通脉冲袋式除尘器耐压高。 高压脉冲袋式除尘器为承受压力合理、安全起见都设计成圆筒形。
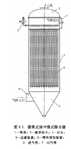
圆筒式脉冲袋式除尘器是以圆筒形结构为壳体,以滤袋为过滤元件,应用脉冲式清灰方 法,按滤料的过滤原理组织与完成工业气体除尘与净化。
圆筒式脉冲袋式除尘器在结构上具有良好的力学特性, 适用于压力高或易燃、易爆威胁的工业气体除尘与净化。 用于高炉煤气、转炉煤气、铁合金煤气等干法除尘工程, 烟气温度可达300TC„
圆筒式脉冲袋式除尘器如图6-1所示。

除尘器壳体、过滤装置、喷吹淸灰装置和安全装置是 岡简式脉冲袋式除尘器的关键构件。
除尘器壳体为圆形结构,按钢制容器设计。其中,筒 身为圆筒形,封头为球形,灰斗为圆锥形。为满足检修换 袋需要,封头与筒身之间可为法兰式,也可为焊接式。弹 簧式滤袋骨架的出现,使长滤袋在净气室内整体换袋成为 可能,使除尘器壳体的按压力容器管理成现实。在设计除 尘器壳体时,其结构计算可参阅第八章贮气罐设计计算。
喷吹装置由脉冲喷吹控制仪、电磁脉冲阀和强力喷吹 装罝组成,按清灰工艺需要设计与配置。其中,强力喷吹 装置推荐应用中冶集团建筑研究总院环保分院的专利产 品——脉冲喷吹袋式除尘器的侧管诱导清灰装置,滤袋直 径为 #120mm、>130mm、#140mm、#150mm、^160mm,滤 袋长度为9m时,袋底喷吹压力可保证3000Pa,具有优良 的清灰特性。
过滤装置主要包括滤袋骨架和滤袋。滤袋骨架随者滤袋的加长而加长 按需要可采用二段式、三段式或弹簧式。弹簧式特别适用于封头内置换滤袋
(1)计算过滤面积e — ?vt _gvt式中,SQ为滤袋计箅过滤面积,m2;?为工况煤气流景,m3/h; m/min,一般取 0. 6?0. 90m/min; 为过滤负荷,mVCh.m2)^
(2)计算滤袋数量预估滤袋材质、规格与长度,计算滤袋数量。
Si = ndL
(有效长度为6?9m), (见第七章第五节)。
(6-1)
vF为滤袋过滤速度,Sono=s7J为滤袋直径,式中,SvSl条滤袋过滤面积,滤袋计算数条。
(3)排列组合以圆形花板为依据,考虑滤袋直径、孔间隔及边距等必要尺寸,排列组 合,确定滤袋实际分布数量。具体按下式计算核定。
L为滤袋有效长度,
(6-2) «o为
mz i
、2826取„
Do-
(6-3)
D=m(d+fl) +2a0
式中,为圆筒计算直径,m; 9vt为每台除尘器处理风量,m3/h; %为圆筒断面速度, m/s, —般取0.7?l.Om/s; m为直径上花板孔的大数量,个;为滤袋直径,m; a为花 板孔净间隔,m, —般取50?70mm; a。为距筒壁的净边距,m, —般取120?150mm; D为 筒体实际定性直径,m,校核时要求
(4)确定滤袋实际数量以滤袋定性尺寸和圆心为基准,呈直线排列,按大数置确定滤 袋实际装置数。
(5)校核滤袋长度按花板上滤袋实际装置数ft与尺寸适度校核滤袋长度,保证滤袋过滤 面积的优化。
(6)确定相关尺寸
①封头高度
Hi==0. 25D+80
②净气室髙度
Hz=2h
③尘气室髙度
(6-4)
(6-5)
(6-6)
④灰斗髙度
.0. SiD-d)
tana
Hi
(6-7)
式中,为封头髙度,nn D为圆筒直径,m; H2为净气室直线段高度,m; A为喷吹 管中心至花板面的净高,m, H3为尘气室高度,m; JL为滤袋有效长度,AH为安全高 度,一般取300?500mim 为灰斗高度,m; d为排灰U直径,m; tana为灰斗倾斜角的正
切,a—般取30°?32°; AA为排灰管直线段高度,m, —般取80?120mm。
⑤支架高度:按实际需要确定支架形式与排灰口至支座底脚的髙度《5。
⑥设备总高度H=H1+Hz + H3 + Hi+Hs (6-8)式中,H为设备总高度,
按主体除尘工艺计算结果,相应确定附属设施的规格与数量。包括:①走台、栏杆、梯子 及安全设施;②脉冲喷吹清灰设施;③检测设施;④运行操作与控制系统;⑤贮气罐及其配气 设施;⑥料位监测与控制。
(1)安全阀的型式可为直接载荷的弹簧式,也可为直接载荷的重锤式;若采用非直接载荷 式安全阀,必须做到副阀失灵时,主阀仍能按规定开启压力下,自行开启排出其额定泄放量。
(2)压力容器有安全阀时,容器设计压力按以下步骤确定:
①根据压力容器工作压力/确定安全阀开启压力取么<(1.1~1.05)/>„;当么< 0.18MPa时,可适当提高&相对于/>„的比值。
②取容器的设计压力等于或稍大于开启压力即P>?z。
(3)安全阀排放面积
①气体
临界条件时:
p=---(6-9)
7. 6XlO~2CKpd{M/ZT)o s ?
/ 9 */(^—1)
亚临界条件时:
F=-^2--(6-io)
55. 85Kpi[(.M/ZT){k/Ck-l)LCp0/pi')^i-(.p0/pi)li+l)^)0 S}0 S
式中,P。为安全阀出侧压力,MPa; A为气体绝热指数;M为气体摩尔质量,kg/kmol; Z为气体的压缩系数,对空气Z=1.0; C为气体特性系数,见表6-1» W,为容器的安全泄放 量,kg/h; iC为安全阀的额定泄放系数,K = 0.9; 了为泄放装置进口气体温度,K。

②饱和蒸气。饱和蒸气中蒸气含量应不小于98%,过热度不大于lit。 当 pd<10MPa 时: 爆破片装置是由爆破片(或爆破片组件)和夹持器(或支承圈)等装配组成的压力泄放安 全装置,用于保护压力容器或管道免遭因超压而发生破坏的一种安全泄压装置。具有结构简 单,排放面积大,密封性能好,工作可靠等优点。它适合于工作介质黏度大,在聚合物沉积 或腐蚀性能强以及压力急剧升高,普通安全阀所不能胜任的压力容器或管道上的保护。爆破片 装置执行GB 567国家标准。爆破片装置选型指南见表6-2。 (1)压力容器装有爆破片装置时,容器的设计压力按以下步骤确定。 ①确定爆破片的低标定爆破压力根据不同型式的拱形金属爆破片,推荐的值见表6-3。 ②选定爆破片的制造范围爆破片的制造范围见表6-4。 ③计算爆破的设计爆破压力pb。九等于加上所选爆破片制造范围的下限(取绝对值); ④确定容器的设计压力/»。/>等于/>b加上所选爆破片制造范围的上限。 (2)爆破片排放面积的计算 ①气体 ^8 F^7. 6X10-2CK>b(M/ZT)0-5 (6'13) 式中,M为气体的摩尔质量,kg/kmol; Z为气体的压缩系数,对空气Z=1.0, 了为超压泄放装置进口气体温度,K,其他符号意义同前。 ②饱和蒸汽 当 />b<10MPa 时: W F=5.25CK'pb (6"14) 当 10MPa>b<22MPa 时: F=_W.r22912ph-73l5-] 5.25K AL190. 6?一6895」 式中,f为安全阀或爆破片的小排放面积,mm2;对全启式安全阀,即A>l/4d,时, F=0. 785^ ,对微启式安全阀,即A>[(l/40)?(l/20)]dt时,平面型密封面F=3. 锥面型密封面F=3.14次Asinp W,为容器的安全泄放量,kg/h; C为气体特性系数,见 表6-1; JC'为爆破片的额定泄放系数,K' = 0.62; />b为煨破片的设计压力,MPa。 (3)爆破片装置的材料 ①爆破片材料及其高使用温度见表6-5。 ②爆破片所用材料不允许被介质腐蚀,必要时,在与介质的接触面上ar盖保护膜。 ③夹持器常用材料有碳钢、奥氏体不锈钢、蒙乃尔及因料镍等。材料性能必须符合相应 标准的要求。 8.安全阀与爆破片装置的组合装置 (1)安全阀与爆破片装置的串联组合安全阀与爆破片装置串联组合时,容器超压的限度 及泄放装置的动作压力应符合一般规定的要求。 (2)安全阀与爆破片装置的并联组合安全阀与爆破片装置并联组合时,容器超压的限度 及泄放装置的动作压力应符合一般规定的要求。其中安全阀的动作压力应不大于设计压力,爆 破片的动作压力不得超过1.04倍设计压力。
F=5.25kpd (6"U)当 10MPa7.爆破片装置




电话:18903178757
传真:0317-8041117
邮箱:28505225@qq.com
地址:河北省泊头市富镇开发区
冀ICP备16028451号-3
-
-